首页 > 中国石化 > 招聘公告 > 2024年仪征化纤校园招聘测试面试人选公告

2024年仪征化纤校园招聘测试面试人选公告

发布时间:2023-11-20 15:54   来源:招聘公告 查看:打印  关闭

重要提醒:本网站所发布内容为转载资讯,供您浏览和参考之用,请您对相关内容自行辨别及判断,本网站对此不承担任何责任。凡私自告知添加联系方式、保证无条件入职、收取各种费用等信息,请保持高度警惕,防止上当受骗造成各种损失。

  2024年仪征化纤校园招聘测试面试人选公告
仪征化纤1
仪征化纤2
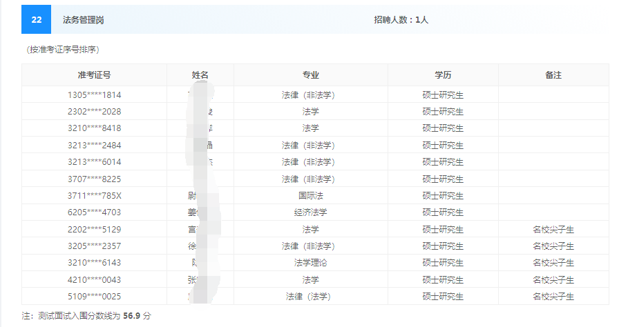
仪征化纤3
仪征化纤4
仪征化纤5
仪征化纤6
  二、测试面试须知
  (一)我单位将于2023年11月20日通过中国石化人才招聘网站“站内消息”发送测试面试通知,请参加测试面试人员在2023年11月22日前通过“个人信息”栏中“站内消息”查阅并进行确认。未及时确认,视为自动放弃测试面试资格。
  (二)参加测试面试人员须携带本人身份证、学生证、就业推荐表、学习成绩单、外语成绩证明以及简历中所列的各类证书等原件及复印件和《应聘中国石化毕业生基本信息表》(从中国石化人才招聘网站下载打印)。
  (三)参加测试面试人员所提交材料必须真实、准确、完整。主要材料不全、主要信息不实的,将被取消测试面试资格。
  (四)参加测试面试人员应及时关注中国石化人才招聘网站相关信息。
  三、其他
  (一)招聘单位招聘工作领导小组组成情况: 公司领导 、党委组织部(人力资源部)及相关部门(单位)负责人等。
  (二)招聘单位联系电话:0514-83232303 ,举报邮箱:zhaopin.yzhx@sinopec.com。
  (三)集团公司举报邮箱:job@sinopec.com。



石油招聘客服老师
     扫描二维码咨询三桶油秋招面试问题

 
  原标题:仪征化纤2024年度校园招聘测试面试人选公告
  文章来源:http://job.sinopec.com/#/school/enterpriseAnnouncement

分享到:

Back to Top