2022-2023年乌审旗农村信用合作联社校园招聘拟入围人员名单公示
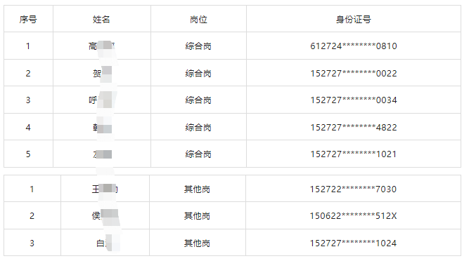
根据《内蒙古农村信用社2022-2023年度应届高校毕业生校园招聘简章》及《乌审旗农村信用合作联社2022-2023年度应届高校毕业生校园招聘工作方案》相关要求,乌审旗农村信用合作联社2022-2023年度应届高校毕业生校园招聘计划为:综合岗5人,其他岗3人,共计8人。现笔试面试工作已结束。
按照招聘岗位1:1的比例确定入围人员,现将拟入围人员进行公示,具体人员名单如下:


公示期:2023年1月30日至2023年2月3日(5个工作日)。
任何单位和个人可通过来访、来函、电话等形式反映上述公示对象的有关情况和问题。对所反映问题请提供可供调查的证明人以及其他有关线索。乌审旗农村信用合作联社对反映问题者以及所反映的问题将严格保密。
受理时间:工作日上午8:30-12:00,下午2:30-5:30






