2024年国际勘探开发有限公司秋季高校毕业生招聘入围通用能力考试名单
中国石油2024年秋季高校毕业生招聘通用能力考试将于
北京时间2024年11月16日下午14:00开始。请于11月5日上午10:00前登录网站http://cnpc2024.campustest.cn,在“信息采集”页面确认是否参加通用能力考试,以便安排考场。
登录账号和密码:将于11月3日下午至晚间陆续发送到个人投递简历时预留的手机(短信)或邮箱(邮件)
具体操作方法和注意事项详见以下链接:
《中国石油2024年秋季高校毕业生招聘通用能力考试参考意愿确认须知》
(按姓名拼音排序)
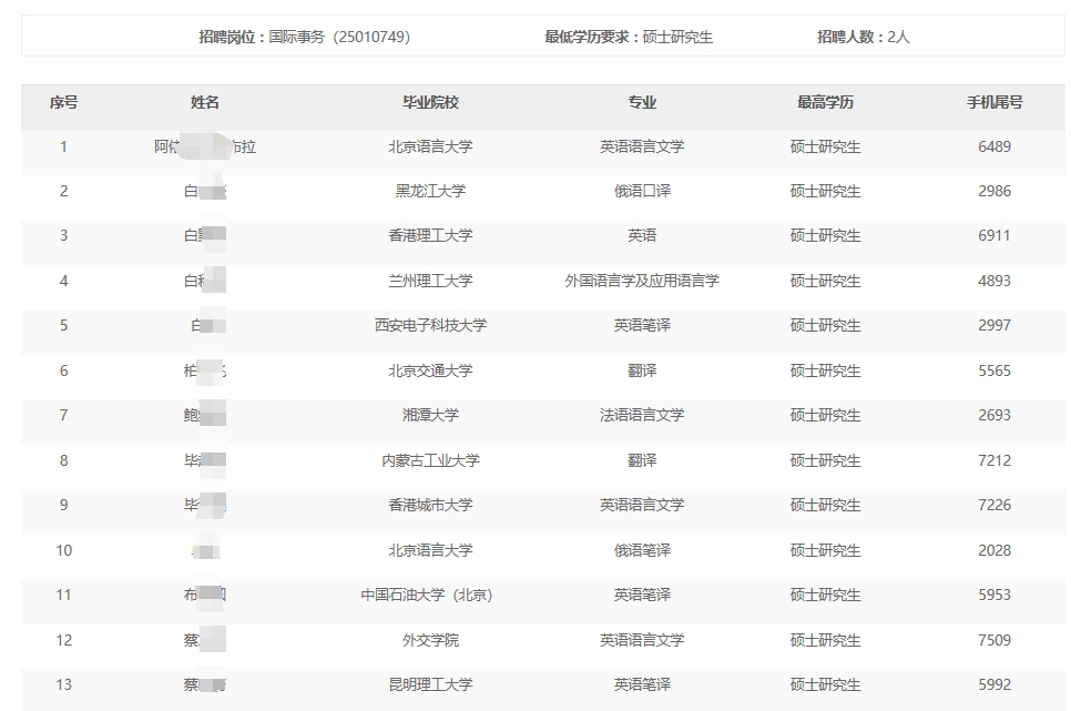
以下是部分岗位的部分名单,具体名单请点击附件进行查看

扫描上方二维码咨询三桶油秋招问题
原标题:中国石油
文章来源:https://zhaopin.cnpc.com.cn/
联系我们时,请一定说明在“银行招聘网”上看到的,谢谢!
免责声明:本网站所发布内容为转载资讯,作为转载主体并不承担岗位真实性核查责任,仅供您浏览和参考之用,请您对相关内容自行辨别及判断,本网站不承担任何责任。如有内容、版权等问题请与本网联系删除。
热门标签: