首页 > 中国石油 > 招聘公告 > 2024年青海油田分公司秋季高校毕业生招聘免于通用能力考试名单

2024年青海油田分公司秋季高校毕业生招聘免于通用能力考试名单

发布时间:2024-11-05 11:58   来源:招聘公告 查看:打印  关闭

重要提醒:本网站所发布内容为转载资讯,供您浏览和参考之用,请您对相关内容自行辨别及判断,本网站对此不承担任何责任。凡私自告知添加联系方式、保证无条件入职、收取各种费用等信息,请保持高度警惕,防止上当受骗造成各种损失。

2024银行春招上岸学习资料

  2024年青海油田分公司秋季高校毕业生招聘免于通用能力考试名单
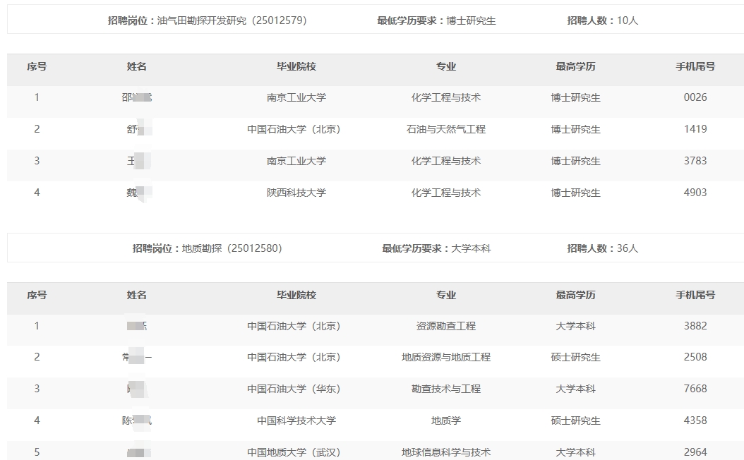
  符合优才标准的毕业生免于参加通用能力考试,名单如下:
  (按姓名拼音排序)
  以下是部分岗位的部分名单,具体名单请点击附件进行查看
青海油田分公司2024年秋季高校毕业生招聘免于通用能力考试名单
石油招聘客服老师
扫描上方二维码咨询三桶油秋招问题


 
  原标题:中国石油
  文章来源:https://zhaopin.cnpc.com.cn/

分享到:

Back to Top