首页 > 中国石油 > 招聘公告 > 2024年中国石油物资采购中心秋季高校毕业生招聘入围通用能力考试名单

2024年中国石油物资采购中心秋季高校毕业生招聘入围通用能力考试名单

发布时间:2024-11-05 14:21   来源:招聘公告 查看:打印  关闭

重要提醒:本网站所发布内容为转载资讯,供您浏览和参考之用,请您对相关内容自行辨别及判断,本网站对此不承担任何责任。凡私自告知添加联系方式、保证无条件入职、收取各种费用等信息,请保持高度警惕,防止上当受骗造成各种损失。

2024银行春招上岸学习资料

2024年中国石油物资采购中心秋季高校毕业生招聘入围通用能力考试名单
  中国石油2024年秋季高校毕业生招聘通用能力考试将于北京时间2024年11月16日下午14:00开始。请于11月5日上午10:00前登录网站http://cnpc2024.campustest.cn,在“信息采集”页面确认是否参加通用能力考试,以便安排考场。
  登录账号和密码:将于11月3日下午至晚间陆续发送到个人投递简历时预留的手机(短信)或邮箱(邮件)
  具体操作方法和注意事项详见以下链接:
  《中国石油2024年秋季高校毕业生招聘通用能力考试参考意愿确认须知
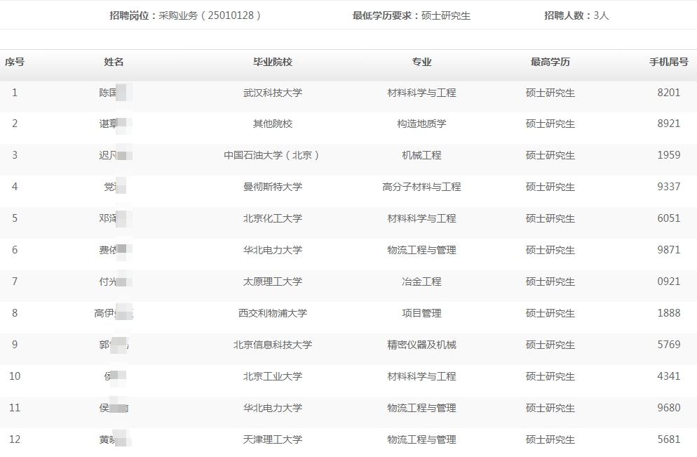
(按姓名拼音排序)
  以下是部分岗位的部分名单,具体名单请点击附件进行查看
名单
  附件:中国石油物资采购中心2024年秋季高校毕业生招聘入围通用能力考试名单


石油招聘客服老师
扫描上方二维码咨询三桶油秋招问题

 

  原标题:中国石油
  文章来源:https://zhaopin.cnpc.com.cn/
 

分享到:

Back to Top