2024年乌鲁木齐石化分公司秋季高校毕业生招聘入围通用能力考试名单
中国石油2024年秋季高校毕业生招聘通用能力考试将于
北京时间2024年11月16日下午14:00开始。请于11月5日上午10:00前登录网站http://cnpc2024.campustest.cn,在“信息采集”页面确认是否参加通用能力考试,以便安排考场。
登录账号和密码:将于11月3日下午至晚间陆续发送到个人投递简历时预留的手机(短信)或邮箱(邮件)
具体操作方法和注意事项详见以下链接:
《中国石油2024年秋季高校毕业生招聘通用能力考试参考意愿确认须知》
(按姓名拼音排序)
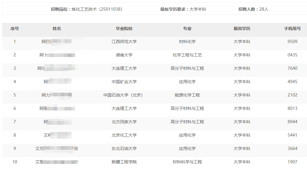
以下是部分岗位的部分名单,具体名单请点击附件进行查看

扫描上方二维码咨询三桶油秋招问题
原标题:中国石油
文章来源:https://zhaopin.cnpc.com.cn/
联系我们时,请一定说明在“银行招聘网”上看到的,谢谢!
免责声明:本网站所发布内容为转载资讯,作为转载主体并不承担岗位真实性核查责任,仅供您浏览和参考之用,请您对相关内容自行辨别及判断,本网站不承担任何责任。如有内容、版权等问题请与本网联系删除。
热门标签: