首页 > 中国石油 > 招聘公告 > 2024年中国石油物资采购中心秋季高校毕业生招聘免于通用能力考试名单

2024年中国石油物资采购中心秋季高校毕业生招聘免于通用能力考试名单

发布时间:2024-11-05 14:25   来源:招聘公告 查看:打印  关闭

重要提醒:本网站所发布内容为转载资讯,供您浏览和参考之用,请您对相关内容自行辨别及判断,本网站对此不承担任何责任。凡私自告知添加联系方式、保证无条件入职、收取各种费用等信息,请保持高度警惕,防止上当受骗造成各种损失。

2024银行春招上岸学习资料

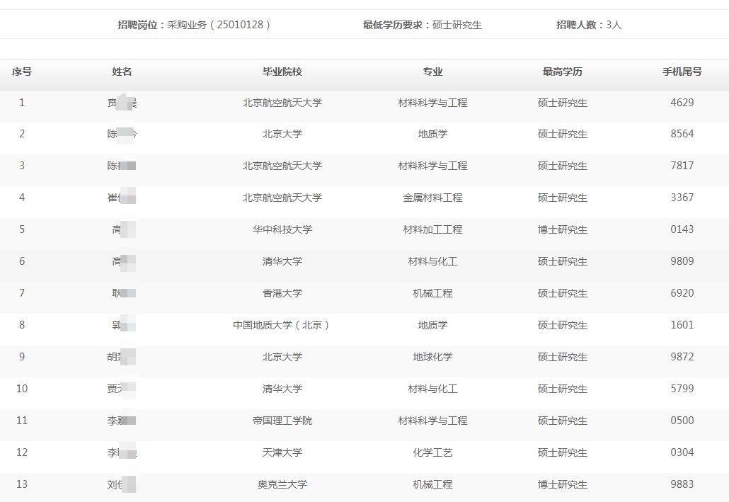
  2024年中国石油物资采购中心秋季高校毕业生招聘免于通用能力考试名单
  符合优才标准的毕业生免于参加通用能力考试,名单如下:
  (按姓名拼音排序)
  以下是部分岗位的部分名单,具体名单请点击附件进行查看
名单
  附件:中国石油物资采购中心2024年秋季高校毕业生招聘免于通用能力考试名单

石油招聘客服老师
扫描上方二维码咨询三桶油秋招问题

 

  原标题:中国石油
  文章来源:https://zhaopin.cnpc.com.cn/
 

分享到:

Back to Top